
| |
![]() |
|

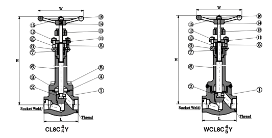
標準材質細表
序號 | 零件名稱 | CStoASTM | AStoASTM | SStoASTM | |
A105 | A182F22 | A182F304L | A182F316L | ||
1 | 閥體 | A105 | A182F22 | A182F304L | A182F316L |
2 | 閥瓣 | A276420 | A276304 | A276304L | A276316L |
3 | 閥桿 | A182F6 | A182F304 | A182F304L | A182F316L |
波紋管 | SS | ||||
4 | 墊片 | 316夾柔性石墨 | 316夾PTFE | ||
5 | 閥蓋 | A105 | A182F22 | A182F304L | A182F316L |
6 | 螺栓 | A193B7 | A193B16 | A193B8 | A193B8M |
7 | 填料 | 柔性石墨 | PTFE | ||
8 | 填料壓套 | A276420 | A182F304 | ||
10 | 填料壓板 | A216WCB | A351CF8 | ||
12 | 閥桿螺母 | A276420 | |||
手輪 | A197 | ||||
13 | 鎖緊螺母 | A1942H | A1944 | A1948 | A1948M |
銷釘 | A276420 | A182F304 | |||
活節螺栓 | A193B7 | A193B16 | A193B8 | A193B8M | |
螺母 | A1942H | A1944 | A1948 | A1948M | |
墊圈 | SS | ||||
14 | 銘牌 | SS | |||
適用介質 | 水、蒸汽、油品等 | 水、蒸汽、油品等 | 硝酸、醋酸等 | ||
適用溫度 | —29℃~425℃ | —29℃~550℃ | —29℃~200℃ | ||
注意:客戶需求的其他材質也可采用.密封面材料配對客戶指定內件代號決定
CS=碳鋼;AS=合金鋼;SS=不銹鋼;
尺寸MM和重量KG
NPS | 縮徑 | 3/8" | 1/2" | 3/4" | 1" | 11/4" | 11/2" | 2" |
全徑 | 3/8" | 1/2" | 3/4" | 1" | 11/4" | 11/2" | ||
L1 | 79 | 79 | 92 | 111 | 120 | 120 | 140 | |
L | 79 | 79 | 92 | 111 | 120 | 152 | 172 | |
H開 | 220 | 220 | 225 | 244 | 321 | 321 | 347 | |
W | 100 | 100 | 100 | 125 | 160 | 160 | 180 | |
重量 | 螺栓式 | 3.2 | 3.0 | 4.8 | 7.9 | 11.0 | 16.8 | 25.2 |
焊接式 | 3.0 | 2.8 | 4.8 | 7.0 | 9.6 | 13.5 | 20.25 | |
浙江以法他閥門有限公司專業生產鍛鋼閥門,鍛鋼閘閥,鍛鋼截止閥產品廣泛應用于石油、化工、冶金、電力、軍工、造紙、及工程配套行業,愿與天下有識之士一起,為中國閥門工業的騰飛和進步做出更大的貢獻!