
| |
![]() |
|
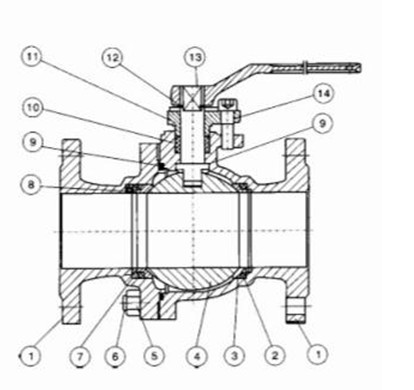
產品結構特點
經過特殊處理的球體與閥座,特別適用于較高溫度及含各種粉塵與固體顆料的介質.
1、采用特別設計的補償性可動金屬閥座結構,密封可靠;
2、本系列球閥應按規定流向使用;
3、本系列球閥可配多種驅動裝置。

浙江以法他閥門有限公司專業生產鍛鋼閥門,鍛鋼閘閥,鍛鋼截止閥產品廣泛應用于石油、化工、冶金、電力、軍工、造紙、及工程配套行業,愿與天下有識之士一起,為中國閥門工業的騰飛和進步做出更大的貢獻!
浙江以法他閥門有限公司專業生產鍛鋼閥門,鍛鋼閘閥,鍛鋼截止閥產品廣泛應用于石油、化工、冶金、電力、軍工、造紙、及工程配套行業,愿與天下有識之士一起,為中國閥門工業的騰飛和進步做出更大的貢獻!
浙江以法他閥門有限公司專業生產鍛鋼閥門,鍛鋼閘閥,鍛鋼截止閥產品廣泛應用于石油、化工、冶金、電力、軍工、造紙、及工程配套行業,愿與天下有識之士一起,為中國閥門工業的騰飛和進步做出更大的貢獻!